登录
中青网怎么投稿?1、百度查询“中青网”上官网去看是否有联系方式,然后打电话问发布稿件要多少钱?我们可以看到有以下联系方式:

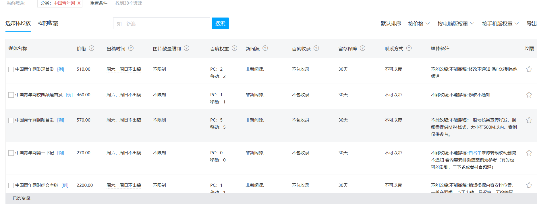
可以自己联系,不过这种方式比较花精力,同时还要去自己跟进谈,再加上这种网站对稿件的审核的也是花比较长时间的,如果能发布的话,一篇也要500元以上,发布所在的栏目也只能是小栏目。对于如果是企业品牌软文来说的话,有点性价比不高。

2、找些渠道资源的媒介平台,也就是发稿平台,查看上面是否有能发布“中青网”网的资源,如果有的话, 可以直接下单,平台系统自动联系对方进行发布,只要花点小钱就可以发布了。这种方式比较省时省力。

3、就是自己组织活动,然后就叫中青网的记者参加,给点出场费,同时要求发布稿件,这种是对于自己在组织活动时,可以这么操作,但是一般能请得到官方记者,还是要有一定的媒体资源。再加上如果是企业活动,他们可能不会出席活动,因为他们也是有规定只能参加哪种活动,对青年可是有党建方面的活动,能出席机率就比较大。普通企业活动,比较难请。
最后如果是企业软文平时的宣传的话,最好是找些相对应行业网站发布,能百度收录,同时又针对用户,效率和效果可能会更好。如果想在本站找中青网,可以查看:https://www.ky668.com/rw?site=5&pricesort=0
大学生联报:https://www.dxslb.cn/